Konstrukcja drzwi
Konstrukcja Drzwi Zewnętrznych:
Drzwi drewniane zewnętrzne PĘDZIWIATR produkowane są z drewna sosnowego klejonego, zgodnie
z wymaganiami technicznymi i technologią, określonymi dla drzwi zewnętrznych drewnianych w zakładowej specyfikacji technicznej wyrobu.
Są to drzwi płycinowe, pełne oraz oszklone szyba zespoloną, izolowane pianką polistyrenową. Płyciny mają wyfrezowane aplikacje wykończeniowe.
Drzwi produkowane są wraz z ościeżnicą drewnianą i progiem drewnianym.
Konstrukcja Drzwi Wewnętrznych:
Drzwi drewniane wewnętrzne PĘDZIWIATR produkowane są z drewna sosnowego klejonego, zgodnie
z wymaganiami technicznymi i technologią, określonymi dla drzwi wewnętrznych drewnianych w zakładowej specyfikacji technicznej wyrobu.
Są to drzwi płycinowe, pełne oraz oszklone szybą wg. oferty. Płyciny mają wyfrezowane aplikacje wykończeniowe.
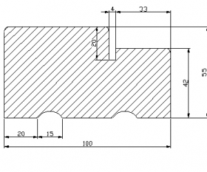
Przekroje:
Jak określić kierunek otwierania drzwi?
Stronność drzwi określa się w bardzo prosty sposób. Stojąc przodem do drzwi (muszą otwierać się w naszą stronę – ciągniemy drzwi za klamkę do siebie) należy określić, po której stronie widzimy zawiasy. Jeżeli zawiasy widzimy po lewej stronie, mamy drzwi lewe, jeżeli po prawej, to drzwi są prawe.





